最新!迈瑞医疗副总辞职
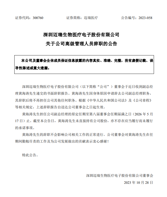
10月27日,迈瑞医疗发布公告称,董事会于近日收到副总经理黄海涛先生递交的书面辞职报告。黄海涛先生因身体原因申请辞去公司副总经理职务,其辞职后将不再担任公司其他任何职务。根据《中华人民共和国公司法》及《公司章程》等相关规定,上述辞职报告自送达公司董事会之日起生效。
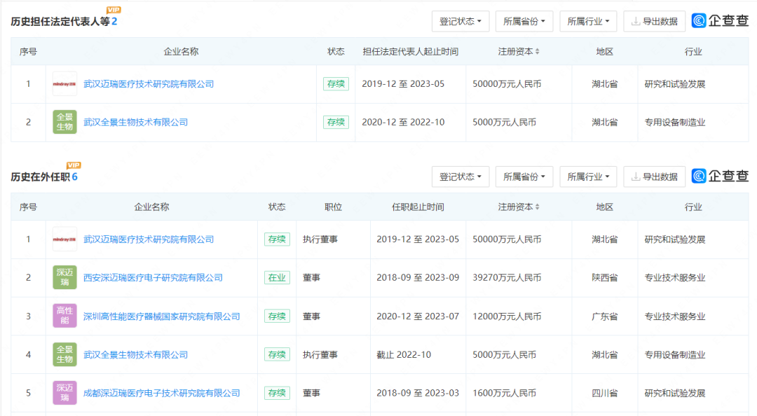
黄海涛先生担任公司副总经理的原定任期至第八届董事会任期届满之日(2026年5月17日)止。截至本公告日,黄海涛先生未直接持有公司股份,亦不存在应当履行而未履行的承诺事项。 黄海涛先生的辞职不会影响公司相关工作的正常进行。公司董事会对黄海涛先生在任期间勤勉尽责的工作及为公司发展做出的贡献表示衷心感谢! 企查查数据显示,黄海涛,男,1977年出生,中国国籍,无境外永久居留权。毕业于东南大学生物医学工程专业,学士。现任迈瑞医疗副总经理。自2002年起历任迈瑞医疗部门经理、研发总监、高级研发总监、生命信息与支持事业部副总经理等职务。(此简介更新于2023-10-28)


*声明:本文内容转载于网络,版权归原作者所有,转载目的在于传递信息,并不代表本平台观点。如涉及作品内容、版权和其它问题,请与本网站留言联系,我们将在第一时间删除!
(https://mp.weixin.qq.com/s/uWD9RAZO8mYLOl9mYkXJxg)



