抗感染药Top20公布
抗菌药属于全身用抗感染药物的一大类别,2023年前三季度中国重点城市公立医院终端全身用抗感染药物销售规模超185亿元;品牌TOP20中,东阳光药、海灵等9个国产品牌全线上扬......
01
抗菌药大目录出炉
陕西、北京、广西......持续更新
随着抗菌药物的广泛应用,耐药性问题日益突出,为了合理使用抗菌药物、避免抗生素滥用和抗菌治疗的风险,自2012年起,我国各地陆续开始制定《抗菌药物分级管理目录》(下文简称《目录》),至今多个省市已更新迭代多个版本。
据梳理,2023年有陕西、北京、广西等省市及自治区先后发布了《2023版抗菌药物临床应用分级管理目录》(文末附详细品种目录),分别涉及183个、122个和200个品种(区分用药途径,按通用名统计,下同)。
针对各地的临床用药情况,根据非限制级(按需合理应用)、限制级(慎重使用)和特殊级(特殊情况下使用)3个等级的划分标准,不同省市纳入的抗菌药品种不尽相同。其中,陕西、北京、广西分别有49个、45个、60个品种纳入非限制使用级,分别有81个、52个、89个品种纳入限制使用级,分别有53个、25个、51个品种纳入特殊使用级的用药标准。而对于未纳入《目录》的抗菌药,原则上不被推荐使用。
2023年全国各省市发布的《抗菌药物临床应用分级管理目录》汇总

《抗菌药物分级管理目录》的制定与实施能够规范抗生素的使用,减少滥用和不良反应,从而降低抗生素耐药性的风险。过去十余年间,全国各省市已陆续更新了多版《目录》,将当下安全、有效、经济和循证证据充分的品种纳入供应目录,并把耐药率高、不良反应多、循证医学证据不充分、违规使用突出的品种清退出供应目录。
02
230亿市场掀热浪
东阳光药、海灵等国产品牌亮眼
抗菌药物属于全身用抗感染药的一大类别,《抗菌药分级管理目录》落地实施十余年,临床用药得到进一步规范的同时,全身用抗感染药物市场规模仍保持平稳发展的趋势。在中国重点城市公立医院终端,该品类在2020年受疫情影响下滑约20%,2021年及2022年均重回230亿元以上;2023年前三季度销售额超185亿元,预计全年有望恢复至疫情前水平。
近年来中国重点城市公立医院终端全身用抗感染药物销售趋势(单位:万元)

品牌TOP20方面,辉瑞的注射用头孢哌酮钠舒巴坦钠(2:1)、上药第一生化药业的注射用硫酸多黏菌素B、辉瑞的奈玛特韦片/利托那韦片组合包装位居前三,海灵制药的注射用拉氧头孢钠、默沙东的注射用亚胺培南西司他丁钠分别排在第四和第五。
2023年前三季度中国重点城市公立医院终端全身用抗感染药品牌TOP20

从企业层面上看,外资厂商占据主导,辉瑞及默沙东分别有4个、2个品牌上榜;国内药企方面,上海医药集团旗下占据2个席位,东阳光药、海灵制药、恒瑞医药等各有1个品牌入围。
从销售额变化来看,20个品牌中有16个品牌实现正增长,4个品牌暴涨超70%。其中,辉瑞的奈玛特韦片/利托那韦片组合包装暴涨超3240%,吉利德的比克恩丙诺片涨逾133%,东阳光药的磷酸奥司他韦颗粒增长约76%,辉瑞的注射用头孢他啶阿维巴坦钠(4:1)增长约71%。
注射用拉氧头孢钠一致性评价企业申报情况(含新分类报产)

海灵制药的注射用拉氧头孢钠属于氧头孢烯类抗生素,主要用于敏感菌引起的各种感染症,如败血症、脑膜炎、呼吸系统感染症、腹腔内感染症等。近年来,注射用拉氧头孢钠在中国重点城市公立医院终端销售额逐年攀升,2021-2022年均保持两位数同比增长,2023年前三季度接近6亿元,同比增长37%。数据显示,目前该产品有7家企业拥有生产批文;7家企业通过/视同通过一致性评价,其中海灵制药为首家过评。
近年来中国重点城市公立医院终端磷酸奥司他韦颗粒销售趋势(单位:万元)

东阳光药的磷酸奥司他韦颗粒属于神经氨酸酶抑制剂,适用于甲型和乙型流感的治疗及预防,是国家卫健委、世界卫生组织以及国内外多个指南共识推荐的流感首选用药。2022年起随着疫情影响逐渐变小,叠加季节性流感增大了用药需求,该产品再次成为“抢手货”,2022年其在中国重点城市公立医院终端销售增速达191%,2023年前三季度市场规模再度突破2亿元,同比增长76.62%,东阳光药独揽本品销售份额。
03
10款1类新药整装待发
众生、青峰火力全开
随着新型细菌、病毒的出现和致病性的增强,抗感染药物的研发和创新迫在眉睫。
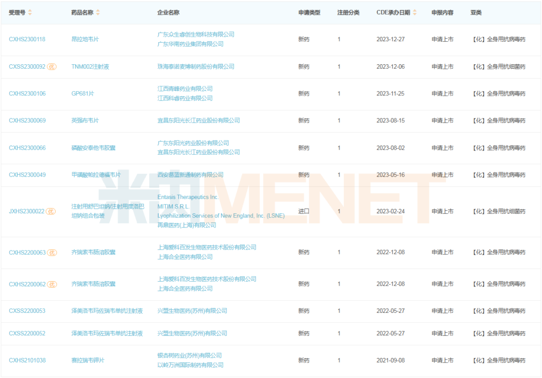
数据显示,目前国内有10款全身用抗感染1类新药(不含预防用生物制品,下同)处于上市申请阶段,按治疗亚类统计,全身用抗病毒药占8个,全身用抗细菌药占2个。
全身用抗感染1类新药报产在审情况

其中,众生药业的昂拉地韦片是国内第一个RNA聚合酶抑制剂,也是全球同靶点唯一完成治疗单纯性甲型流感Ⅲ期临床试验的First-in-class药物。临床前研究结果表明,该药对多种甲型流感病毒的抑制能力显著,尤其对部分耐药的病毒株和高致病性禽流感病毒株均具有较强的抑制作用。
数据显示,目前昂拉地韦片已进入NDA审评审批阶段,昂拉地韦颗粒正开展Ⅰ期临床试验,若两者能成功获批,将与众生药业已上市的新冠口服创新药来瑞特韦片组成更强大的抗感染产品矩阵。
昂拉地韦颗粒(ZSP1273颗粒)临床试验进度

青峰药业的GP681片属于创新型抗流感病毒药物,为聚合酶酸性蛋白(PA)抑制剂。GP681是一种前药,其通过水解转化为活性代谢产物GP1707D07,选择性地抑制流感病毒PA的帽依赖性核酸内切酶,从而抑制流感病毒的复制。
其Ⅰ至Ⅲ期临床数据显示,作为一种全新作用机制的核酸内切酶抑制剂,GP681片具有疗效强、剂量低、耐药性好等特点。据悉,该药只需服用一次的剂量就可在一天内治愈流感,且能持续起效1周以上。若GP681片能最终获批上市,将为国内流感患者提供更新、更优的治疗方案。
与此同时,青峰药业还在同步开发1款高端抗感染口服液——盐酸万古霉素口服溶液,目前该药已进入报产在审阶段,是冲击首仿的大热选手。
盐酸万古霉素口服溶液企业申报上市情况

东阳光药的磷酸安泰他韦胶囊、英强布韦片分别属于NS5A抑制剂、NS5B抑制剂,均适用于抗丙肝病毒感染。东阳光药表示,其正开发磷酸安泰他韦胶囊联合英强布韦片用于丙肝的治疗。
在抗感染领域,东阳光药主要在研的1类新药有10款,涉及丙肝、乙肝、流感等疾病。其中,NS5A抑制剂磷酸依米他韦胶囊已获批上市,用于治疗成人1型非肝硬化慢性丙型肝炎;抗丙肝药磷酸安泰他韦胶囊和英强布韦片已提交上市申请,抗乙肝药甲磺酸莫非赛定胶囊处于Ⅲ期临床阶段,用于成人甲流治疗的HEC116094HCl·3H2O片已完成Ⅰ期临床试验。
东阳光药抗感染新药研发管线

注:带*为纳入优先审评品种
随着抗丙肝创新药磷酸安泰他韦胶囊和英强布韦片步入上市冲刺期,以及其他在研抗感染创新药研发工作的推进,东阳光药在抗感染领域的竞争优势将进一步提升。
陕西省抗菌药物临床应用分级管理目录(2023版)


北京市抗菌药物临床应用分级管理目录(2023版)

广西壮族自治区抗菌药物临床应用分级管理目录(2023版)

注:带*为仅限三级医疗机构使用的抗菌药品种,带#为仅限住院患者使用的抗菌药品种;来源:米内网数据库、各省市卫健委官网等
*声明:本文内容转载于网络,版权归原作者所有,转载目的在于传递信息,并不代表本平台观点。如涉及作品内容、版权和其它问题,请与本网站留言联系,我们将在第一时间删除!
(https://mp.weixin.qq.com/s/avBNEn-Bz53wt5lM4cQf0Q)



