重磅!洛索洛芬钠凝胶贴膏,最新情报!
洛索洛芬钠,是日本非甾体抗炎药中销量第一的品种,也是继氟比洛芬之后上市的第一个丙酸类前体型非甾体抗炎药。
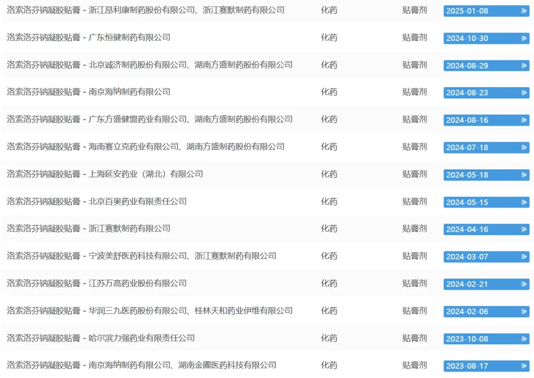
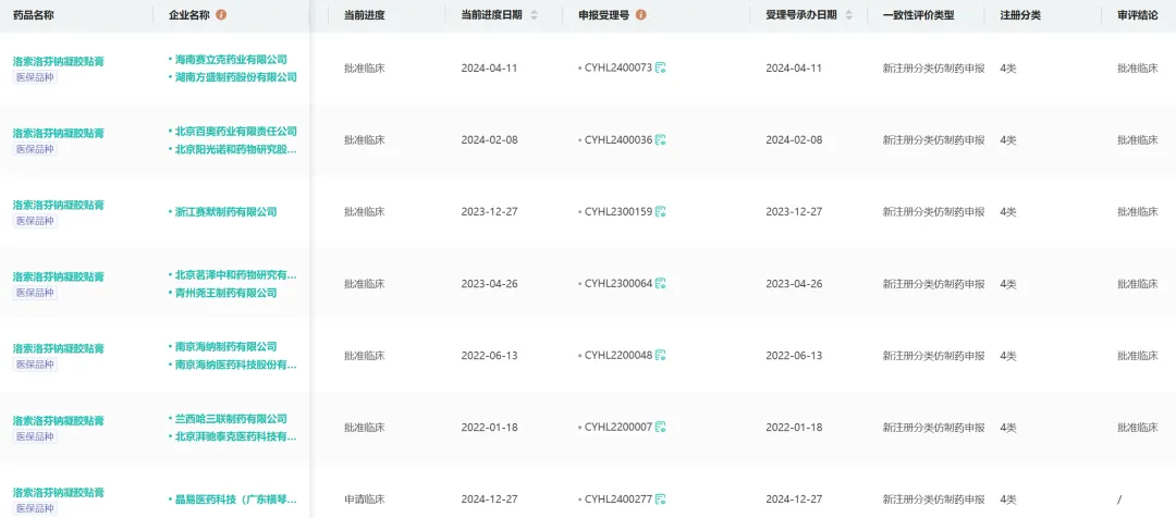
洛索洛芬钠在国内有胶囊、普通片剂、颗粒、贴膏等多种剂型获批上市。其中洛索洛芬钠凝胶贴膏作为局部外用的贴膏剂,该药包容药量大,给药剂量准确,具有高渗透性,能保证优异的起效速度和起效强度,贴敷舒适、皮肤相容性好,安全性高。
由此销量甚佳:23年国内销售额超15亿,成为仅次于氟比洛芬凝胶贴膏的TOP2化药贴膏。





*声明:本文内容转载于网络,版权归原作者所有,转载目的在于传递信息,并不代表本平台观点。如涉及作品内容、版权和其它问题,请与本网站留言联系,我们将在第一时间删除!
(https://mp.weixin.qq.com/s/haAqZbFLAVEctn4ac6wruA)



